服务热线:0591-39010577 / 85236228
快捷导航
  • 15

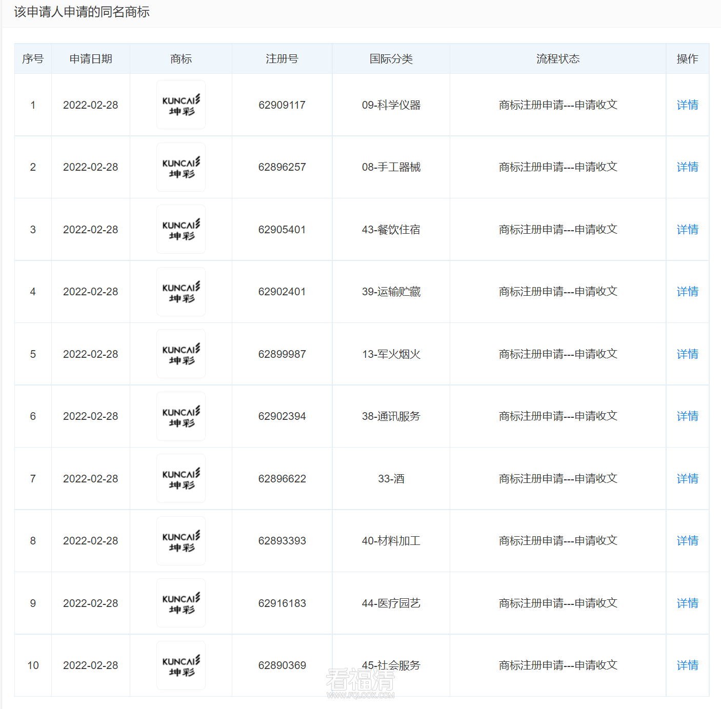
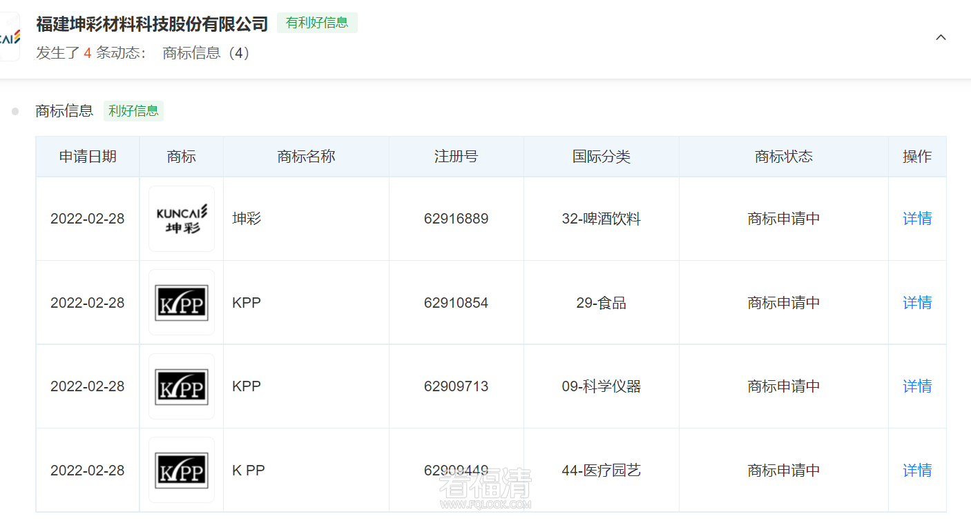
坤彩申请新的商标,包括酒类等

 
福清哥闯天下 发表于 2022-3-16 10:05:09 | 显示全部楼层 |阅读模式 | 来自福建
29428 44

请登录查看大图。42+万用户选择下载看福清App享受全功能!

您需要 登录 才可以下载或查看,没有账号?立即注册 |

x

100508rxxyw9y1w9oo9z2q.jpg

企业微信截图_20220316100323.png

企业微信截图_20220316100341.png

看福清——服务全球福清人!
回复

使用道具 举报

全部回复(44)
非诚勿扰888 | 来自福建
一年营业额得上亿了吧
收起回复
Snkrs : 厉害
2022-3-17 00:05 来自福建 回复
B Color Smilies
还可输入 个字符
2022-3-16 12:21:49 来自手机
看福清——服务全球福清人!
永不止步 | 来自福建
把能想到的都注册了
收起回复
Snkrs : 大企业就是这样
2022-3-17 00:05 来自福建 回复
B Color Smilies
还可输入 个字符
2022-3-16 12:30:56 来自手机
看福清——服务全球福清人!
福清融强贺医生 | 来自福建
厉害了坤彩有限公司
收起回复
Snkrs :
2022-3-17 00:05 来自福建 回复
れい :
2022-3-20 08:04 来自福建 回复
B Color Smilies
还可输入 个字符
2022-3-16 12:59:06 来自手机
看福清——服务全球福清人!
绝色 | 来自福建
懂得用商标注册保护自己的品牌利益
收起回复
Snkrs : 大企业
2022-3-17 00:06 来自福建 回复
B Color Smilies
还可输入 个字符
2022-3-16 18:58:28 来自手机
看福清——服务全球福清人!
绝色 | 来自福建
中国人最喜欢干蹭名牌热度的事了,比如当年某计生用品就抢注了“中央一套”
收起回复
Snkrs :
2022-3-17 00:06 来自福建 回复
B Color Smilies
还可输入 个字符
2022-3-16 18:59:10 来自手机
看福清——服务全球福清人!
爱你一芳 | 来自福建
企业多样化发展
收起回复
Snkrs : 是啊
2022-3-17 00:06 来自福建 回复
B Color Smilies
还可输入 个字符
2022-3-16 19:42:35 来自手机
看福清——服务全球福清人!
惊艳 | 来自安徽
这也太牛B了吧!!
回复 收起回复
B Color Smilies
还可输入 个字符
2022-3-16 19:44:59 来自手机
看福清——服务全球福清人!
惊艳 | 来自安徽
怎么还有军火!!
收起回复
Snkrs : 哈哈哈
2022-3-17 00:06 来自福建 回复
B Color Smilies
还可输入 个字符
2022-3-16 19:45:54 来自手机
看福清——服务全球福清人!
懒懒的阿呆 | 来自福建
注册是不是不要钱啊
收起回复
Snkrs : 大企业不差钱
2022-3-17 00:06 来自福建 回复
B Color Smilies
还可输入 个字符
2022-3-16 21:56:07 来自手机
看福清——服务全球福清人!
您需要登录后才可以回帖 登录 | 立即注册 |

手机访问|手机App|Archiver|手机版|小黑屋|关于我们

© 2025 FQLOOK.cn|国家高新技术企业|福清市互联网示范企业|福清市IP访问量前三企业

闽工商网备第350181100079485号|闽B2-20250200|闽公网安备35018102000007号 |闽ICP备07503243号

侵权举报:本页面所涉内容为用户发表并上传,相应的法律责任由用户自行承担;本网站仅提供存储服务;如存在侵权问题,请权利人与本网站联系删除!举报电话:0591-39010577(转8号按键)

GMT+8, 2025-12-6 21:14 , Processed in 0.072496 second(s), 17 queries , MemCache On. |Powered by Discuz! X3.4